RESOLUCIÓN 80 DE 2002
(agosto 23)
<Fuente: Archivo interno entidad emisora>
DEFENSORÍA DEL PUEBLO
Por la cual se reglamenta y adopta el Manual de Procedimientos de Contratación Interna de la Defensoría del Pueblo
EL DEFENSOR DEL PUEBLO
El Defensor del Pueblo en ejercicio de sus facultades legales y en especial, de las conferidas por el ARTÍCULO 9, numeral 18 de la Ley 24 de 1992, y
CONSIDERANDO:
Que los procedimientos forman parte del sistema integrado de organización del control interno de acuerdo con lo establecido en la Ley 87 de 1993.
Que los Manuales de Procedimientos constituyen un instrumento de apoyo y consulta para el ejercicio eficiente de las funciones de competencia de los servidores públicos.
Que los procedimientos coadyuvan al cumplimiento de los objetivos del Organismo y es necesario que estén adecuadamente definidos.
Que tanto, la Secretaría General, como las Oficinas de Control interno, Planeación, Jurídica y Personal realizaron reuniones de trabajo para definir unos procedimientos ágiles y oportunos en lo que al proceso de la contratación en la Defensoría del Pueblo se refiere.
Que mediante Resolución 2239 del 27 de agosto de 1996 se adoptó el Manual de Procedimientos para las Dependencias Adscritas a la Secretaría General elaborado por las Oficinas de Planeación y Sistemas.
Que se hace necesario actualizar y ajustar dicho manual de procedimientos a los procesos que actualmente desarrolla la entidad y a la más reciente normatividad, en lo concerniente a la contratación de la entidad.
En mérito de lo anterior,
RESUELVE:
ARTÍCULO PRIMERO: MANUAL DE PROCEDIMIENTOS DE CONTRATACIÓN. Adoptase para la Defensoría del Pueblo el Manual de Procedimientos de Contratación consignado en la presente Resolución, así:
- Elaboración Plan Anual de Compras
- Clasificación de Necesidades según su Naturaleza Presupuestal Clasificación de Necesidades según la Cuantía
- Mínima Cuantía
- Menor Cuantía
- Mayor Cuantía
- Contratación Servicios Personales Indirectos
PROCESO: ADQUISICIÓN DE BIENES Y/O SERVICIOS
PROCEDIMIENTO: ELABORACIÓN PLAN ANUAL DE COMPRAS


PROCESO: ADQUISICIÓN DE BIENES Y/O SERVICIOS
PROCEDIMIENTO: ELABORACION PLAN ANUAL DE COMPRAS
| No | ACTIVIDAD | DESCRIPCIÓN | FECHA LÍMITE | RESPONSABLE | PUNTO DE CONTROL | DOCUMENTOS |
1 | Solicitud de información | 30 de Septiembre | Subdirector Administrativo | Subdirector administrativo | Solicitud | |
| 2 | Requerimientos de las dependencias | Se reciben los requerimientos Justificados, de necesidades para el siguiente año | 30 de Octubre | Jefes de Dependencias | Subdirector Administrativo | Oficios Internos |
3 | Elaboración Plan Anual de Compras | La Subdirección Administrativa, con base en la información recibida debe proceder a estudiarla y a elaborar el Plan Anual de Compras para la siguiente vigencia. | 30 de Noviembre | Subdirector Administrativo | Secretaría General Comité de Contratación y Gasto Subdirector Administrativo | Documento final |
PROCESO: ADQUISICIÓN DE BIENES Y/O SERVICIOS
PROCEDIMIENTO: CLASIFICACIÓN PE NECESIDADES SEGÚN SU NATURALEZA PRESUPUEST AL

PROCESO: ADQUISICION DE BIENES Y/O SERVICIOS
PROCEDIMIENTO: CLASIFICACIÓN DE NECESIDADES SEGÚN SU NATURALEZA PRESUPUESTAL
| No. | ACTIVIDAD | DESCRIPCIÓN | FECHA LÍMITE | RESPONSABLE | PUNTO DE CONTROL | DOCUMENTOS |
| 1 | Definición de la necesidad | Cada dependencia debe realizar la identificación anual de sus necesidades, en cuanto a sí se trata de: 1. Adquisición de bienes y servicios 2. Gastos de personal - prestación de servicios técnicos. | En el momento de la identificac ión | Jefes de cada dependencia | Jefes de cada dependencia | Solicitud |
| 2 | Corresponde a gastos de personal - prestación de servicios técnicos? | El Remite solicitud a la Secretaria General. No. Corresponde a una adquisición de un bien y/o servicio: remitir a la Subdirección Administrativa. | Jefes de cada dependencia | Jefes de cada dependencia | Solicitud | |
| 3 | Secretaria General | Encargada de tramitar la solicitud ante la Oficina de personal | 2 días | Secretaría General | Secretaría General | Viabilidad Inicial |
4 | Aprueba? | Sí. Pasa a la actividad No 5 No. Fin | ||||
5 | “Contratación servicios personales indirectos” | Remitirse a este procedimiento. | ||||
6 | SubdirecciónAdministrativa | Procede a iniciar el proceso de clasificación según Cuantía. | 1 día | Asistente Subdirección Administrativa | Subdirector Administrativo | Solicitud |
| 7 | “Clasificación según la cuantía” | Remitirse a este procedimiento. | ||||
8 | Verificación contra el Plan Anual de Compras | Se verifica contra el plan anual de compras | Asistente de compras | Subdirector Administrativo | ||
FIN | ||||||
PROCESO: ADQUISICIÓN DE BIENES Y/O SERVICIOS
PROCEDIMIENTO: CLASIFICACIÓN SEGÚN LA CUANTÍA

PROCESO: ADQUISICION DE BIENES Y/O SERVICIOS
PROCEDIMIENTO: CLASIFICACIÓN SEGÚN LA CUANTÍA
No. | ACTIVIDAD | DESCRIPCIÓN | FECHALÍMITE | RESPONSABLE | PUNTO DE CONTROL | DOCUMENTOS |
| 1 | Es adquisición de bienes? | No. Pasa A la actividad No. 2 adquisición de servicios. Sí. Pasa a la actividad No. 3. | 1 día | Almacenista | Subdirector Administrativo | Solicitud |
2 | Adquisición de Servicios | Si no es la adquisición de un bien, será la adquisición de un servicio | ||||
| 3 | Hay existencias en el Almacén? | Sí. Se realiza el correspondiente requerimiento de elementos al Almacén. No. Se procede a realizar un estudio de mercado. | 2 días | Almacenista | Subdirector Administrativo | |
4 | Solicitud de elementos al almacén | Realizar una solicitud formal de elementos al almacén. | 1 día | Asistente Subdirección Administrativa | Subdirector Administrativo | Formato de Solicitud de elementos |
5 | Envío de elementos a dependencia solicitante | Entrega elementos a la correspondiente dependencia solicitante. | Máximo 5 días si es un envío a otra ciudad. | Almacenista | Subdirector Administrativo | Compraban te de egreso del Almacén |
6 | Elaboración estudio de mercado | Realizar un estudio de mercado tendiente a la consecución de dichos elementos faltantes. | 5 días | Asistente de Compras | Subdirector Administrativo | Estudios |
7 | Determinación valor global | Establecer el monto necesario para satisfacer la demanda requerida. | 1 día | Asistente Subdirección Administrativa | Subdirector Administrativo | Cuadros de análisis |
8 | Solicitud disponibilidad presupuestal | Solicitar La expedición del CDP. | 2 días | Subdirector Administrativo Jefe Presupuesto | Secretario General Subdirector Financiero | CDP |
| 9 | Cubre más de un periodo fiscal? | SI. Pasa a la actividad No 9. NO. Pasa a la actividad No. 11. | Inmediato | Subdirector Administrativo | SubdirecciónAdministrativa | |
10 | Subdirección Financiera | Enviar solicitud a la Subdirección Financiera. | 1 día | Subdirector Administrativo | SubdirecciónFinanciera | Solicitud de vigencias |
11 | Vigencias futuras | Sub Financiera tramita ante el Ministerio de Hacienda y Crédito Público esta Solicitud | 1 día | Subdirector Financiero | Secretario General | Solicitud |
PROCESO: ADQUISICIÓN DE BIENES Y/O SERVICIOS
PROCEDIMIENTO: CLASIFICACIÓN SEGÚN LA CUANTÍA
| No. | ACTIVIDAD | DESCRIPCIÓN | FECHA LÍMITE | RESPONSABLE | PUNTO DE CONTROL | DOCUMENTOS |
12 | Es mínima cuantía? | Sí. Remitirse al procedimiento de “Mínima Cuantía”. No. Pasa a la actividad No. 13. | Inmediato | Asistente de compras | Subdirector Administrativo | |
13 | “Mínima cuantía” | Remitirse a este procedimiento. | Asistente de compras | Subdirector Administrativo | ||
14 | Es menor cuantía? | Sí. Remitirse al procedimiento “Menor Cuantía”. | Asistente de compras | Subdirector Administrativo | ||
| No. Remitirse al Procedimiento “Menor Cuantía” | ||||||
15 | “Menor cuantía” | Remitirse a este procedimiento | Asistente comprasde | Subdirector Administrativo | ||
16 | “Mayor cuantía” | Remitirse a este procedimiento | Asistente de compras | Subdirector Administrativo | ||
| FIN | ||||||
PROCESO: ADQUISICIÓN DE BIENES Y/O SERVICIOS
PROCEDIMIENTO: MÍNIMA CUANTÍA

PROCESO: ADQUISICIÓN DE BIENES Y/O SERVICIOS
PROCEDIMIENTO: MÍNIMA CUANTÍA
| No. | ACTIVIDAD | DESCRIPCIÓN | TIEMPO | RESPONSABLE | PUNTO DE CONTROL | DOCUMENTOS |
1 | Solicitud mínimo de una cotización | Consecución de la cotización | 2 días | Asistente de compras | Subdirección Administrativa | Invitación y cotizaciones |
2 | Elaboración cuadros comparativos | La Subdirección Administrativa prepara cuadros comparativos que resumen las mejores ofertas recibidas para presentarlas ante el Comité de Contratación y Gasto. | 1 | Asistente de compras | SubdirectorAdministrativo | Cuadros comparativos |
3 | Comité de contratación y gasto | El tema se lleva a este Comité para su recomendación. | 2 días | Subdirector Administrativo | SecretaríaGeneral | Acta |
4 | Elaboración orden de compra y/o servicio | Elaboración del documento. | 2 días | Asistente de compras | SubdirectorAdministrativo | Orden de compra y/o de servicio |
| 5 | Firma del Ordenador del Gasto | La Secretaría General revisa y firma la respectiva orden. | 2 días | Asesor Secretaría General | SecretaríaGeneral | Orden de compra y/o de servicio firmada |
6 | Registro presupuestal | Solicitar el Registro Presupuestal al Área de Presupuesto. | 2 días | Subdirector Administrativo Jefe de Presupuesto | Subdirección Financiera | Registro Presupuestal |
| 7 | Es un bien? | Sí. Pasa a la actividad No. 7. No. Pasa a la actividad No. 8. | ||||
8 | Entrada al Almacén | Recibo de los bienes objeto de la compra. | 5 días | Almacenista | Subdirección Administrativa | Comprobante de ingreso al Almacén. |
9 | interventoría | Ejercida por el Interventor del contrato | Interventor | Oficina Jurídica | Acta | |
10 | Recibo a satisfacción | Expedición recibo a satisfacción o certificación de servicios. | 2 días | Interventor | Subdirección Administrativa, Oficina Jurídica | Acta de reciboo certificación |
11 | Pago | Envío soportes a la subdirección financiera para su respectivo pago en el caso de bienes. Para servicios personales envío a Oficina Jurídica | Interventor | Sub financiera, Oficina Jurídica según sea el caso | ||
| FIN | ||||||
PROCESO: ADQUISICIÓN DE BIENES Y/O SERVICIOS
PROCEDIMIENTO: MENOR CUANTÍA

PROCESO: ADQUISICIÓN DE BIENES Y/O SERVICIOS
PROCEDIMIENTO: MENOR CUANTÍA
| No. | ACTIVIDAD | DESCRIPCIÓN | TIEMPO | RESPONSABLE | PUNTO DE CONTROL | DOCUMENTOS |
1 | Solicitud cotizaciones | Remisión de las invitaciones. Publicación de aviso. 1- Hasta 10% de la menor cuantía: una sola oferta y precio del mercado. 2- 10%_50% menor cuantía 2 cotizaciones precios del mercado 3- 50% _ 100% - Aviso - Precios del mercado - Dos cotizaciones | 2 días (mínimo) | Asistente Subdirección Administrativa | SubdirecciónAdministrativa | Invitación y cotizaciones |
2 | Recepción de Ofertas | Se reciben las propuestas de proveedores interesados | 2 días | Asistente Subdirección Administrativa | SubdirecciónAdministrativa | Ofertas o cotizaciones |
3 | Evaluación de las Ofertas | Evaluación y consolidación de resultados. | 5 días (máximo) | Asistente Subdirección Administrativa | SubdirecciónAdministrativa | Estudio de resultados |
| 4 | Comité de contratación y gasto | El tema se lleva a este Comité para su recomendación. | S días (máximo) | Subdirector Administrativo.Jefe dependencia solicitante. Experto si es del caso. | Secretaría General | Acta |
5 | Elaboración del contrato | Elaboración de la minuta | 2 días | Profesional Oficina Jurídica | Jefe Oficina Jurídica | Minuta |
| 6 | Revisión y fuma del contrato | La Secretaría General revisa, solicita ajustes si es del caso y firma el contrato. Posteriormente se hace firmar por el contratista. | 3 días | Asesor - Secretaría General | SecretarioGeneral | Contrato |
7, | Registro presupuestal | Solicitar el Registro Presupuestal al Área de Presupuesto. | 2 días | Subdirector Administrativo Jefe de Presupuesto | SubdirecciónFinanciera | Registro Presupuestal |
8 | Constitución de pólizas y publicación el Diario Oficial | Solicitar al contratista la respectiva constitución de póliza de garantía y publicación en el Diario Oficial. | 5 días | Profesional Oficina Jurídica | Jefe Oficina Jurídica | Pólizas y publicación |
9 | Aprobación póliza de garantía | La Oficina Jurídica revisa los anteriores documentos y procede a aprobar la póliza de garantía. | 2 días | Profesional Oficina Jurídica | Jefe Oficina Jurídica | Certificadode aprobación |
10 | Notificación a interventor y contratista | Se informa al contratista y al interventor, sobre la aprobación de la póliza y del inicio de la ejecución del contrato | 1 día | Secretaria Oficina Jurídica | Jefe Oficina Jurídica | Oficio de notificación |
PROCESO: ADQUISICION DE BIENES Y/O SERVICIOS
PROCEDIMIENTO: MENOR CUANTÍA
| No. | ACTIVIDAD | DESCRIPCIÓN | FECHA LÍMITE | RESPONSABLE | PUNTO DECONTROL | DOCUMENTOS |
| 11 | Ejecución del contrato | Se desarrolla el objeto del contrato | el pactado | Interventor | Dependencia ejecutora | Certificados |
12 | Es un bien? | Sí. Pasa a la actividad No. 13. No. Pasa a la actividad No. 15. | ||||
13 | Entrada al Almacén | Recibo de los bienes objeto de la compra. | 5 días | Almacenista | Subdirección Administrativa | Comprobante de ingreso al Almacén. |
14 | Interventoría | Ejercida por el Interventor del contrato | Interventor | Oficina Jurídica | Acta | |
| 15 | Recibo a satisfacción | Expedición recibo a satisfacción o certificación de servicios. | 2 días | Interventor | Subdirección Administrativa, Oficina Jurídica | Acta de recibo o certificación |
16 | Pago | Envío soportes a la subdirección financiera para su respectivo pago en el caso de bienes. Para servicios personales envío a Oficina Jurídica | Interventor | Sub financiera, Oficina Jurídica según sea el caso | ||
17 | Archivo | Los soportes originales de toda la transacción reposarán en el archivo de la Oficina Jurídica. | 1 día | Secretaria Oficina Jurídica | Jefe Oficina Jurídica | Documentos originales |
| FIN | ||||||
PROCESO: ADQUISICIÓN DE BIENES Y/O SERVICIOS
PROCEDIMIENTO: MAYOR CUANTÍA

PROCESO: ADQUISICIÓN DE BIENES Y/O SERVICIOS
PROCEDIMIENTO: MAYOR CUANTÍA

PROCESO: ADQUISICION DE BIENES Y/O SERVICIOS
PROCEDIMIENTO: MAYOR CUANTÍA

PROCESO: ADQUISICIÓN DE BIENES Y/O SERVICIOS
PROCEDIMIENTO: MAYOR CUANTÍA

PROCESO: ADQUISICIÓN DE BIENES Y/O SERVICIOS
PROCEDIMIENTO: MAYOR CUANTÍA
| No. | ACTIVIDAD | DESCRIPCIÓN | TIEMPO | RESPONSABLE | PUNTO DE CONTROL | DOCUMENTOS |
| 1 | Elaboración estudio de viabilidad y cronograma de licitación | La Secretaría General determina la viabilidad de convocar la licitación y la Subdirección Administrativa elabora los estudios de viabilidad, técnicos, económicos y financieros necesarios. | 5 días | Subdirector Administrativo | SecretaríaGeneral | Viabilidad y estudios de viabilidad |
2 | Informe a Cámara de Comercio y Confecámaras | Remitir a la Cámara de Comercio de la jurisdicción correspondiente la información general de la licitación que se pretende abrir, en la forma y plazos previstos por la ley. | 1 mes antes de la apertura | Subdirección Administrativa | SecretarioGeneral | Informe en diskette |
3 | Elaboración pliegos de condiciones | Elaborar los términos de referencia; ponerlos a la venta y publicarlos en la página WEB de la institución. | 3 meses antes de la adjudicación | Jefe Oficina Jurídica, Subdirector Administrativo Administrativo Área técnica | SecretaríaGeneral | Pliego de condiciones |
4 | Elaboración resolución ordenando la apertura | Expedición del acto administrativo mediante el cual se da apertura formal a la licitación. | 1 mes antes de la apertura | Subdirector Administrativo Jefe Oficina Jurídica | SecretaríaGeneral | Resolución |
5 | Publicación avisos de apertura | Publicar aviso(s) en diarios amplia circulación nacional | De 10 a 20 días antes de la apertura | Subdirector Administrativo | SecretaríaGeneral | certificado de avisos en periódico |
6 | Venta pliegos de condiciones | Venta de los pliegos de condiciones a los interesados hasta el cierre de la licitación. | Desde la fecha de publicación del primer aviso | Subdirector Administrativo | Subdirección Administrativa | Recibos de pago |
| 7 | Apertura de la Licitación y cierre de urnas | Se da apertura a la licitación y a la recepción de ofertas; Se sellan las urnas. | Según cronograma | Subdirector Administrativo | Subdirección Administrativa Oficina de Control Interno | Acta de apertura |
| 8 | Hay audiencia? | SÍ. Si hay solicitud manifiesta de cualquiera de los interesados, pasa a la actividad No. 9. NO. Pasa a la actividad No. 12. | Dentro de 3 días hábiles siguientes a la apertura | Subdirector Administrativo | Subdirección Administrativa | Solicitudesproponentes |
| 9 | Realización audiencia | Se lleva a cabo una audiencia pública con los interesados quienes podrán plantear sus dudas y solicitudes pertinentes. En relación con los pliegos de condiciones | 1 día | Subdirector Administrativo Jefe Oficina Jurídica Secretario General | Subdirección Administrativa Oficina Jurídica | Acta audiencia |
PROCESO: ADQUISICIÓN DE BIENES Y/O SERVICIOS
PROCEDIMIENTO: MAYOR CUANTÍA
| No. | ACTIVIDAD | DESCRIPCIÓN | TIEMPO | RESPONSABLE | PUNTO DECONTROL | DOCUMENTOS |
| 10 | Hay Modificaciones? | SÍ. Pasa a la actividad No. 11. NO. Pasa a la actividad No. 12. | Subdirector AdministrativoJefe Oficina Jurídica Área técnica | Subdirección Administrativa | ||
| 11 | Realizar modificaciones | Se deben realizar las modificaciones y/o prórrogas debatidas en la audiencia | 2 días | Subdirector Administrativo Jefe Oficina Jurídica Área técnica | SecretaríaGeneral | Adeudos o memorandos según el caso |
| 12 | Designar comité de evaluadores | La Secretaria General designa mediante resolución motivada los miembros del grupo evaluador. | 1 día | Secretario General | SecretaríaGeneral | Resolución |
| 13 | Cierre de licitación y apertura de urnas | Se da cierre a la licitación en presencia de los oferentes y se levanta 1a correspondiente acta. | 1 día | Subdirector AdministrativoJefe Oficina Jurídica Secretario General Jefe Oficina de Control Interno | Subdirección Administrativa | Acta |
| 14 | Evaluación de propuestas | Las propuestas son evaluadas de acuerdo con los términos plasmados en el pliego de condiciones y sus adeudos si los hubo. | Según cronograma | Miembros grupo evaluador | Secretaría General | Estudios y análisis resultantes de la evaluación |
| 15 | Hay aplazamientos? | SÍ. Pasa a la actividad No.16. NO. Pasa a Ja actividad No. 17. | ||||
| 16 | Realizar aplazamiento | Elaborar los adeudos correspondientes. | Según cronograma | Subdirector Administrativo Jefe Oficina Jurídica | SecretaríaGeneral | Adendos |
| 17 | Presentación de los estudios preliminares a los oferentes | Se pone a disposición de los oferentes los resultados de la evaluación de sus propuestos. | 5 días hábiles | Secretorio General | SecretaríaGeneral | |
| 18 | Hay observaciones? | SÍ. Pasa a la actividad No.19. NO. Pasa a la actividad No.20. | ||||
| 19 | Análisis de las observaciones y estudios definitivos | El comité evaluador analiza las observaciones hechas por los oferentes en su revisión a los estudios preliminares y emite estudios definitivos. | Según cronograma | Comité evaluador | Secretaria General | Estudios definitivos |
| 20 | Presentación ante el Comité de contratación y gasto | Presentación de los estudios ante el Comité de Contratación y Gasto, haciendo las recomendaciones pertinentes. | 1 día | Subdirector Administrativo Área técnica | Secretaría General | Acto |
| 21 | Hay causales para declararla desierta? | SÍ. Pasa a la actividad No. 22. NO. Pasa a la actividad No. 23. | ||||
PROCESO: ADQUISICION DE BIENES Y/O SERVICIOS
PROCEDIMIENTO: MAYOR CUANTÍA
| No. | ACTIVIDAD | DESCRIPCIÓN | TIEMPO | RESPONSABLE | PUNTO DE CONTROL | POCUMENTOS |
| 22 | Declararla desierta | Elaborar la resolución de declaratoria. | Jefe Oficina Jurídica | SecretaríaGeneral | Resolución | |
| 23 | Adjudicación o realización audiencia pública de adjudicación | Mediante audiencia pública o a través de resolución motivada. Incluidas las aclaraciones a los oferentes | Según cronograma | Secretario General, Subdirector Administrativo, Jefe Oficina Jurídica, Jefe Área técnica Jefe oficina de Planeación | SecretaríaGeneral | Resoluciónde adjudicación y acta de la audiencia si la hay |
| 24 | Notificación al adjudicatario y comunicación a los no favorecidos | La resolución de adjudicación se notificará personalmente al favorecido y se comunicará por escrito a los demás proponentes, en los términos establecidos por la ley. | Según cronograma | Jefe Oficina Jurídica | SecretaríaGeneral | Notificaciones y comunicaciones |
| 25 | Elaboración documento contractual | Elaborar la minuta del contrato. | 3 días | Jefe Oficina Jurídica | SecretaríaGeneral | Minuta |
| 26 | Allegar documentos | Solicitar al contratista los documentos necesarios para la legalización. | Según cronograma | Abogado - Oficina Jurídica | Oficina Jurídica | Solicitudes |
| 27 | Perfeccionamiento del contrato | El contrato debe ser suscrito, tanto por el Secretario General como por el contratista. | 1 día | Abogado - Oficina Jurídica | Oficina Jurídica | Contrato firmado |
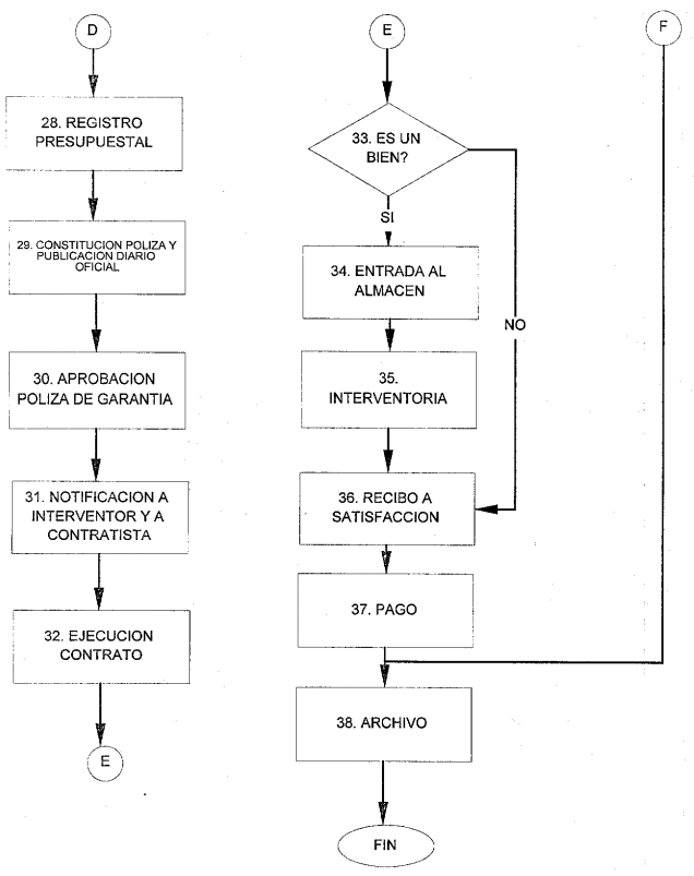
| 28 | Expedición registro presupuestal | Solicitud del Registro Presupuestal. Subdirección Financiera lo expide. | 2 días | Abogado - Oficina Jurídica Responsable de Presupuesto | Subdirección Financiera | Registro presupuestal |
| 29 | Constitución de pólizas y publicación el Diario Oficial | Solicitar al contratista la respectiva constitución de pólizas de garantía y publicación en el Diario Oficial. | 5 días | Abogado - Oficina Jurídica | Oficina Jurídica | Póliza y publicación |
| 30 | Aprobación póliza de garantía | Revisión de los documentos. | 2 días | Abogado Oficina Jurídica | Oficina Jurídica | Acta de aprobación |
| 31 | Notificación a interventor y a contratista | Informar al contratista y al interventor, sobre la aprobación de la póliza y del inicio de la ejecución del contrato. | 1 día | Abogado - Oficina Jurídica | Oficina Jurídica | Comunicaciones |
| 32 | Ejecución contrato | Desarrollo del contrato según los términos pactados en el mismo. | Según lo pactado | Área técnica | Interventor del contrato | Actas de interventoría |
| 33 | Es un bien? | Sí. Pasa a la actividad No. 33 No. Pasa a la actividad No. 36 | ||||
| 34 | Entrada al Almacén | Recibo de los bienes objeto de la compra. | 5 días | Almacenista | Subdirección Administrativa | Comprobante de ingreso al Almacén. |
PROCESO: ADQUISICION DE BIENES Y/O SERVICIOS
PROCEDIMIENTO: MAYOR CUANTÍA
| No. | ACTIVIDAD | DESCRIPCIÓN | TIEMPO | RESPONSABLE | PUNTO DE CONTROL | DOCUMENTOS |
| 35 | Interventoría | Ejercida por el Interventor del contrato | Interventor | Oficina Jurídica | Acta | |
| 36 | Recibo a satisfacción | Expedición recibo a satisfacción o certificación de servicios. | 2 días | Interventor | Subdirección Administrativ a, Oficina Jurídica | Acta de recibo o certificación |
| 37 | Pago | Envío soportes a la subdirección financiera para su respectivo pago en el caso de bienes. Para servicios personales envío a Oficina Jurídica | Interventor | Sub financiera, Oficina Jurídica según sea el caso | ||
| 38 | Archivo | Los soportes originales de todo el proceso reposarán en el archivo de la Oficina Jurídica. | 1 día | Secretaria - Oficina Jurídica | Oficina Jurídica | |
| FIN | ||||||
PROCESO: GASTOS DE PERSONAL
PROCEDIMIENTO: CONTRATACIÓN SERVICIOS PERSONALES INDIRECTOS

PROCESO: GASTOS DE PERSONAL
PROCEDIMIENTO: CONTRATACIÓN SERVICIOS PERSONALES INDIRECTOS

PROCESO: GASTOS DE PERSONAL
PROCEDIMIENTO: CONTRATACIÓN SERVICIOS PERSONALES INDIRECTOS
| No. | ACTIVIDAD | DESCRIPCIÓN | FECHALÍMITE | RESPONSABLE | PUNTO DE CONTROL | DOCUMENTOS |
| 1 | Detecta la necesidad | El Jefe de dependencia detecta la necesidad de la contratación de una o varias personas | 1 mes antes | Jefe de dependencia | SecretaríaGeneral | |
| 2 | Requerimiento motivado | Elaboración de una solicitud escrita dirigida a La Secretaria General adjuntando una o varias hojas de vida de posibles candidatos | 1 mes antes | Jefe de dependencia | Dependencia de Personal | Solicitud y hojas de vida |
| 3 | Viabilidad Inicial | La Secretaría General expide la Viabilidad Inicial de la solicitud de personal. | 1 día | Secretario General | SecretaríaGeneral | Viabilidad Inicial |
| 4 | Emisión certificaciones | La dependencia de Personal Verificará la planta de personal, el manual de funciones, la prioridad de la necesidad y si dicha función no puede ser realizada por algún funcionario de planta. La Oficina Jurídica certificará que no exista otra relación contractual vigente; en cumplimiento del inciso tercero del Art. 3 del decreto 1737/98 modificado por el decreto 2209/98 | 3 días | Profesionales responsables de las Oficinas Jurídica y Personal | SecretaríaGeneral | Certificaciónes |
| 5 | Hay necesidad de expedir declaración motivada? | Si. Pasa a actividad No. 6. No. Pasa a actividad No. 7. | ||||
| 6 | Declaración motivada | Se proyecta la Declaración Motivada para la firma del Secretario General, de acuerdo al Decreto 2209/98. | 2 días | Secretario General | SecretaríaGeneral | Declaraciónmotivada |
| 7 | Revisión certificaciones | El Secretario General por medio de la Oficina Jurídica de la entidad revisará el cumplimiento de los requisitos mencionados anteriormente. | 2 días | Jefe Oficina Jurídica | SecretaríaGeneral | Certificaciónes |
| 8 | Solicitud y expedición disponibilidad presupuestal | Solicitar a la Subdirección Financiera el Certificado de Disponibilidad Presupuestal. | 2 días | Jefe Oficina Jurídica, proyecta; Jefe de Presupuesto emite. | SecretaríaGeneral | Certificadodisponibilidad presupuestal |
| 9 | Presentación al Comité de Contratación y Gasto | Los miembros del comité recomiendan aprobar o no la correspondiente contratación | 1 día | Secretario General | SecretariaGeneral | Acta del comité |
PROCESO: GASTOS DE PERSONAL
PROCEDIMIENTO: CONTRATACIÓN SERVICIOS PERSONALES INDIRECTOS
| No. | ACTIVIDAD | DESCRIPCIÓN | FECHALÍMITE | RESPONSABLE | PUNTO DE CONTROL | DOCUMENTOS |
| 10 | Elaboración del contrato | Elaborar el contrato respectivo | 5 días | Abogado - Oficina Jurídica | Jefe Oficina Jurídica | Minuta del contrato |
| 11 | Firma y perfeccionamiento del contrato | Revisión y firma del contrato. Firma del contratista. | 2 días | Abogado - Oficina Jurídica | Jefe Oficina Jurídica | Contrato firmado |
| 12 | Es mínima cuantía? | Si. Pasa a actividad No. 15. No. Pasa a actividad No. 13 y 14. | ||||
| 13 | Solicitud Póliza y Publicación en el Diario Oficial | Solicitar al contratista la póliza de cumplimiento y la publicación en el Diario Oficial. | 5 días | Abogado - Oficina Jurídica | Jefe Oficina Jurídica | Póliza y Recibo de la publicación |
| 14 | Aprobación póliza de garantía | Se revisa y aprueba la póliza de garantía. | 1 días | Abogado - Oficina Jurídica | Jefe Oficina Jurídica | Acta de aprobación |
| f5 | Registro presupuestal | Solicitar el Registro Presupuestal. La Subdirección Financiera lo expide. | 2 días | Abogado - Oficina Jurídica Jefe Área de presupuesto | Subdirección Financiera Área de presupuesto | Registro presupuestal |
| 16 | Notificación a interventor y a contratista | Informar al contratista y al interventor del mismo, sobre la aprobación de la póliza y del inicio de la ejecución del contrato | 2 días | Abogado - Oficina Jurídica | Jefe Oficina Jurídica | Notificaciones s |
| 17 | Ejecución del contrato | Desarrollo del mismo verificación por el interventor de que se cumpla según su objeto. | Según contratación | Contratista e Interventor | Área Interventor | Actas de cumplimiento |
| 18 | Pago | Según lo pactado en el contrato con certificación del interventor | Según lo pactado | Interventor | Jefe Oficina Jurídica | Comprobante de pago |
| 19 | Terminación y Liquidación del contrato | Terminada la ejecución del contrato, se procede a elaborar la correspondiente acta de liquidación y terminación del contrato. | Dentro de los 4 meses siguientes su finalización | Abogado - Oficina Jurídica | Jefe Oficina Jurídica | Acta de liquidación |
| 20 | Archivo | Los soportes originales de todo el proceso reposarán en el archivo de la Oficina Jurídica. | 1 día | Secretaria - Oficina Jurídica | Jefe Oficina Jurídica | Archivo |
| FIN | ||||||
ARTÍCULO SEGUNDO: ACTUALIZACIÓN DEL MANUAL DE PROCEDIMIENTOS. La actualización y mejoramiento del Manual de Procedimientos de Contratación, se llevará a cabo mediante un registro cronológico de las modificaciones que se le realicen y estará a cargo de la Oficina de Planeación, previas solicitudes de las áreas involucradas en los procedimientos descritos en mencionado manual.
ARTÍCULO TERCERO: VIGENCIA Y DEROGATORIAS. La presente Resolución rige a partir de la fecha de expedición y deroga en lo pertinente la Resolución 2239 del 27 de agosto de 1996.
NOTIFÍQUESE Y CÚMPLASE
Dada en Bogotá D.C., a los 5 días del mes de de 2002
EDUARDO CIFUENTES MUÑOZ
Defensor del Pueblo
GLOSARIO DE SÍMBOLOS ESTÁNDARES EN LOS DIAGRAMAS DE FLUJO
| SIMBOLO | SIGNIFICADO |
| Límites: Circulo Alargado. Se utiliza para indicar el inicio y el fin del proceso. | |
| Operación: Rectángulo. Se utiliza cada vez que ocurra un cambio en un ítem. Se usa para denotar cualquier clase de actividad. | |
| Movimiento / Transporte: Flecha Ancha. Se utiliza para indicar el movimiento del output o salida entre actividades. | |
| Punto de Decisión: Diamante. Se ubica en aquel punto del proceso en el cual debe tomarse alguna decisión. | |
| Dirección del Flujo: Flecha. Se utiliza para denotar la dirección y el orden que corresponden a los pasos del proceso. | |
| Conector: Círculo Pequeño. Se emplea con una letra dentro del mismo al final de cada diagrama de flujo para indicar que el output o salida de esa parte del diagrama servirá como el input o entrada para otro diagrama de flujo. Se utiliza también cuando no existe suficiente espacio para dibujar la totalidad del diagrama de flujo en un papel. | |
| Proceso Predefinido: Rectángulo con bordes. Se emplea para indicar que en ese punto del diagrama de flujo se debe remitir a otro proceso o procedimiento ya definido. | |
FUENTE: TOMADO DE "MEJORAMIENTO DE LOS PROCESOS DELA EMPRESA" DE H JAMES HALUUNGTON. ED. MCGRAW-HTML. 1993